AG贵宾会集团

公司动态

了解最新公司动态及行业资讯

有机污染土壤的臭氧减压脱附系统

2017-11-16 02:32:59 340 编辑:admin 来源:本站
    目前针对沸点较高的有机污染土壤,如多环芳烃类污染土壤,热脱附是有效的常见处理工艺。但热脱附工艺以直接或间接的方式加热土壤,需要消耗大量的能源,因此处理成本相对较高。另外,升温后有机物发生复杂的化学反应,使得热脱附后需要复杂的尾气处理过程。
    本实用新型的目的在于提供一种有机污染土壤的臭氧减压脱附系统,以解决上述背景技术中提出的问题。
    一、为实现上述目的,本实用新型提供如下技术方案:
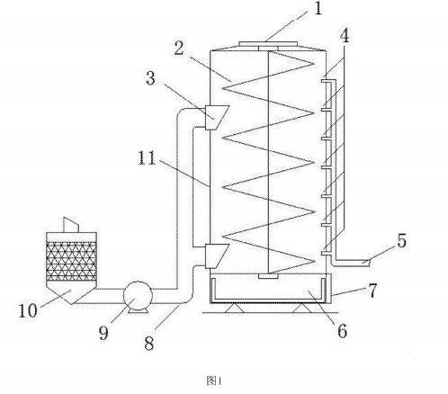
    一种有机污染土壤的臭氧减压脱附系统,包括处理仓,所述处理仓的上端开设有密封进料口,密封进料口与处理仓内腔中的螺旋物料输送器的上端贯通连接,所述螺旋物料输送器的下端与土壤暂存仓连接,且土壤暂存仓位于处理仓的内腔底部,处理仓的下端侧壁设有密封出料口,所述处理仓一侧壁上设有臭氧喷射口,且臭氧喷射口与臭氧发生器连接口连接,所述处理仓另一侧壁上贯通连接密封负压抽气接口,且密封负压抽气接口与负压管道的一端贯通连接,所述负压管道上设有真空泵,且负压管道的另一端与活性炭填料吸附罐贯通连接。
    优选的,所述处理仓采用密封抗压结构,其与密封进料口、密封出料口、臭氧喷射口、密封负压抽气接口的连接处均采用严格的密封连接。
    优选的,所述的负压管道及真空泵的抽气能力,足以使处理仓的大气压降低到0. 01个大气压。
    优选的,所述的螺旋物料输送器的物料输送速率可调节,以满足污染土壤在反应仓内与臭氧接触的停留时间在5到20分钟之间可变。
    优选的,所述的活性炭填料吸附罐内设有颗粒活性炭填料层,活性炭层的高度根据负压管道中的有机废气浓度经现场测试确定,确保系统尾气达标排放。
    二、与现有技术相比,本实用新型的有益效果是:
    此有机污染土壤的臭氧减压脱附系统结构简单,通过采用负压脱附系统,降低有机污染物从土壤中脱附的沸点温度,免去了热能的消耗,降低系统运行成本。在有机污染物从土壤固相脱附到气相后,通入具有强氧化性的臭氧,一方面降解有机污染物,另一方面,降低脱附系统中有机污染物的蒸气压,加速有机污染物从土壤固相的脱附过程。集成高级氧化和减压脱附于一体,同时高效处理挥发性有机物与沸点较高的半挥发性有机物,臭氧高级氧化,可高效处理不同类型的有机物污染土壤,密闭减压操作,尾气回收及臭氧淬灭,无二次污染,具有很强的实用性。
    三、附图说明
  有机污染土壤的臭氧减压脱附系统结构示意图
    图l为有机污染土壤的臭氧减压脱附系统结构示意图。
    图中:l密封进料口、2螺旋物料输送器、3密封负压抽气接口、4臭氧喷射口、5臭氧发生器连接口、6土壤暂存仓、7密封出料口、8负压管道、9真空泵、10活性炭填料吸附罐、11处理仓

30

装备制造经验

立即免费获取土壤修复方案

为用户提供及时、高效、便捷的服务

在线咨询
AG贵宾会集团环境希望与你携手,共创美好未来...
5