AG贵宾会集团

行业动态

了解最新公司动态及行业资讯

盐碱地用土壤破碎设备

2017-10-10 02:15:11 270 编辑:admin 来源:本站
    随着工农业的迅速发展,土壤中重金属含量逐年增加,其造成的污染也日益严重。防治土壤污染,保护有限的土壤资源,已成为突出的全球性问题。在污染土壤修复中,药剂与土壤的混合匀化是一个很重要的环节,对于药剂和污染土壤的混合匀化的均匀度有较高要求。而在土壤的破碎方面依然不够充分,使得土壤与稳定化药剂的融合不够充分,给修复效果带来影响。
    在盐碱地中,对土壤进行破碎时,由于土壤结块下方中很多会有淤泥的存在,使得破碎的土壤中部分为粘稠状,常规的破碎用叶片难以破碎完全,使得破碎后仍有结块的存在,且在排出时效果很差。
    为了解决的技术问题是针对以上不足,土壤修复公司郑州AG贵宾会集团环境提供一种盐碱地用土壤破碎设备,具有土壤结块破碎充分,对带淤泥土壤粉碎效果好,排出时效果好和结构简单的优点。
    1、盐碱地用土壤破碎设备技术方案 :
    一种盐碱地用土壤破碎设备,包括粗碎装置和细碎装置,所述粗碎装置上方设有进料口,进料口下方设有第一转轴,第一转轴上安装有若干个十字交叉排列的第一刀片 ;所述第一刀片包括用于固定在第一转轴上的底座,底座的一侧设有割裂部和击碎部,割裂部的一端靠近第一转轴,另一端与击碎部相接,击碎部设在远离第一转轴的一侧 ;所述割裂部的刀口呈直线,其刀刃为锯齿状,割裂部由刀刃向刀背逐渐变厚,击碎部为圆柱状的锤体。
    大块的结块被击碎部击碎,小块的结块被割裂部粉碎,以下是对上述方案的进一步优化 :
    所述粗碎装置的下方连接有将粗碎后土壤运送到细碎装置的连接管。 所述细碎装置内设有第二转轴。 所述第二转轴上设有螺旋环绕的第二刀片 ;
    所述第二刀片与第二转轴轴线的夹角为 30 度。
    所述第二刀片为圆弧形刀口的斧状刀片。采用斧状刀片更利于切碎细小结块和粘稠状结块,使土壤的粉碎更加充分。
    所述细碎装置的下方设有出料口。
    2、附图说明
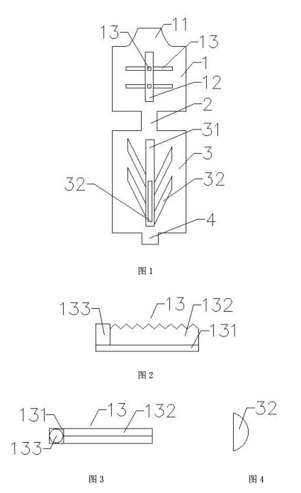
  盐碱地用土壤破碎设备结构示意图
    附图 1 是盐碱地用土壤破碎设备结构示意图 ;
    附图 2 是第一刀片的结构示意图 ;
    附图 3 是附图 2 的俯视结构示意图 ;
    附图 4 是第二刀片的结构示意图 ;
    图中,1- 粗碎装置,11- 进料口,12- 第一刀片,2- 连接管,3- 细碎装置,31- 第二刀片,311- 中间部,312- 端部,313- 通孔,32- 转轴。
    3、盐碱地用土壤破碎设备优点 :
    本发明装置结构简单,通过第一刀片对土壤进行初步破碎,其中大块的结块被击碎部击碎,小块的结块被割裂部粉碎 ;通过第二刀片进行进一步破碎,使土壤破碎更加充分 ;第二刀片便于对含淤泥的土壤进行破碎,使其粉碎效果更好,从而排除土壤时效果好,不会被结块堵塞。

30

装备制造经验

立即免费获取土壤修复方案

为用户提供及时、高效、便捷的服务

在线咨询
AG贵宾会集团环境希望与你携手,共创美好未来...
5